Description
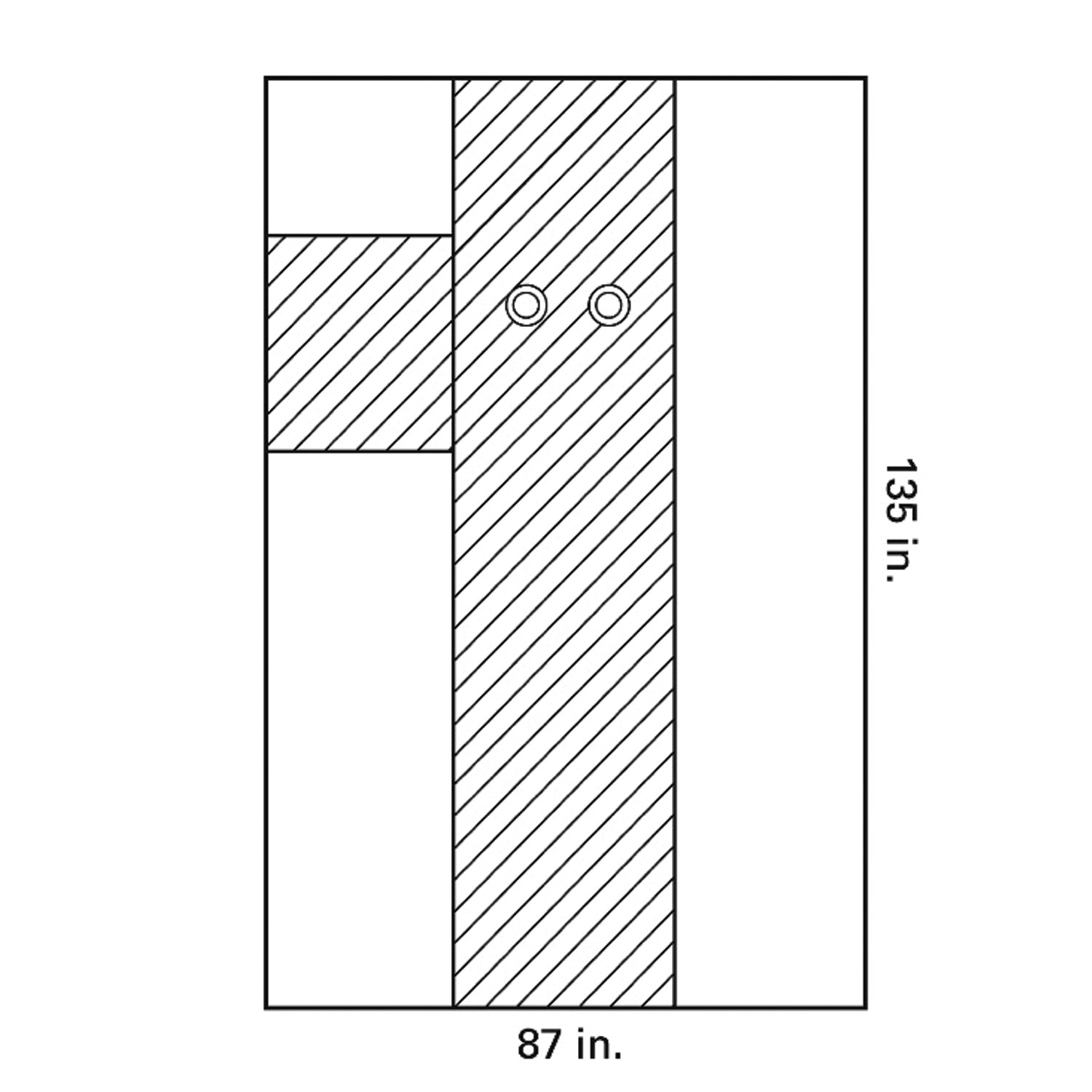
Interventional Femoral Angiography Drape, 87\" x 135\", X-Long, Sterile, 16/cs (US Only)
Product Description: The femoral angiography drapes are for use in high gluid and interventional procedures in the catheterization and interventional rediology labs where effective fluid management is critical for the protection of staff and patients.
Availability: 14-21 Days


